UTILIZAÇÕES - Valorização paisagística (espelho de água)/Rega/Abastecimento urbano e industrial/Recreio
LOCALIZAÇÃO
Distrito - Coimbra
Concelho - Coimbra
Local - Coimbra
Bacia Hidrográfica - Mondego
Linha de Água - Rio Mondego
DADOS GERAIS
Promotor - INAG
Dono de Obra (RSB) - INAG
Projectista - Hidroprojecto
Construtor - SEOP
Ano de Projecto - 1978
Ano de Conclusão - 1981
CARACTERÍSTICAS HIDROLÓGICAS
Área da Bacia Hidrográfica - 4950 km2
Precipitação média anual - 1230 mm
Caudal integral médio anual - 2333059 x 1000 m3
Caudal de cheia - 2000 m3/s
Período de retorno - 1000 anos
CARACTERÍSTICAS DA ALBUFEIRA
Área inundada ao NPA - 925 x 1000m2
Capacidade total - 1600 x 1000m3
Capacidade útil - 620 x 1000m3
Volume morto - 980 x 1000m3
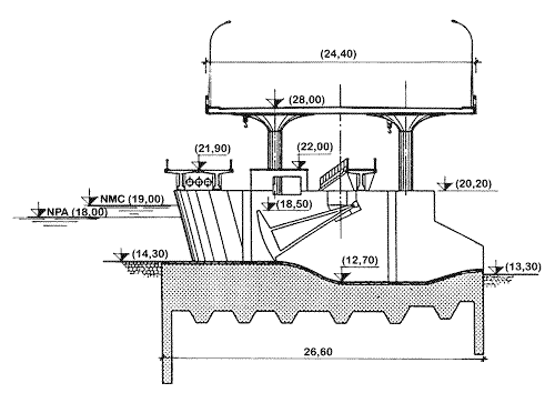
Nível de pleno armazenamento (NPA) - 18 m
Nível de máxima cheia (NMC) - 19 m
Nível mínimo de exploração (Nme) - 17,3 m
CARACTERÍSTICAS DA BARRAGEM
Tipo - Açude móvel
Altura acima da fundação - 39,2 m
Altura acima do terreno natural - 6,2 m
Cota do coroamento - 22 m
Comprimento do coroamento - 202,4 m
Fundação - Margas
Volume de betão - 48,4 x 1000 m3
DESCARREGADOR DE CHEIAS
Localização - No corpo da barragem
Tipo de controlo - Controlado
Tipo de descarregador - Comportas móveis
Cota da crista da soleira - 14,3 m
Desenvolvimento da soleira - 9 x 15,4 m
Comportas - 9 comportas sector
Caudal máximo descarregado - 1200 m3/s
Dissipação de energia - Ressalto





