UTILIZAÇÕES - Energia / Derivação
LOCALIZAÇÃO
Distrito - Vila Real
Concelho - Montalegre
Local - Sezelha
Bacia Hidrográfica - Cávado
Linha de Água - Rio Cávado
DADOS GERAIS
Promotor - CPPE
Dono de Obra (RSB) - CPPE
Projectista - Hidro-Eléctrica do Cávado
Construtor - MAGOP
Ano de Conclusão - 1964
CARACTERÍSTICAS HIDROLÓGICAS
CARACTERÍSTICAS DA ALBUFEIRA
Área da Bacia Hidrográfica - 102 km2 Área inundada ao NPA - 500 x 1000m2
Capacidade total - 3300 x 1000m3
Capacidade útil - 2000 x 1000m3
Volume morto - 1300 x 1000m3
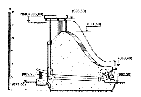
Nível de pleno armazenamento (NPA) - 901,5 m
Nível de máxima cheia (NMC) - 905 m
CARACTERÍSTICAS DA BARRAGEM
Betão - Gravidade
Altura acima da fundação - 29 m
Altura acima do terreno natural - 26 m
Cota do coroamento - 906,5 m
Comprimento do coroamento - 220 m
Largura do coroamento - 4,74 m
Fundação - Rocha
Volume de betão - 29 x 1000 m3
DESCARREGADOR DE CHEIAS
Localização - No corpo da barragem
Tipo de controlo - Sem controlo
Tipo de descarregador - Sobre a barragem
Cota da crista da soleira - 901,5 m
Caudal máximo descarregado - 410 m3/s
Dissipação de energia - Ressalto
DESCARGA DE FUNDO
Localização - Talvegue
Tipo - Através da barragem
Secção da conduta - d 1,65 m
Caudal máximo - 27 m3/s
Controlo a jusante - Sim




