UTILIZAÇÕES - Rega / Abastecimento
LOCALIZAÇÃO
Distrito - Beja
Concelho - Cuba
Local - Vila Alva/Vila Ruiva
Bacia Hidrográfica - Sado
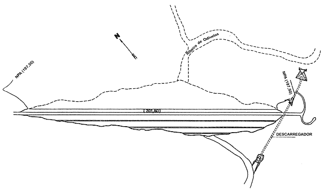
Linha de Água - Ribeira de Odivelas Promotor - INAG
DADOS GERAIS
Dono de Obra (RSB) - Associação de Municípios de Cuba, Vidigueira e Alvito
Projectista - DGSH
Construtor - Construções A. Supico, Lda
Ano de Projecto - 1970
Ano de Conclusão - 1977
CARACTERÍSTICAS HIDROLÓGICAS
Área da Bacia Hidrográfica - 212 km2
Precipitação média anual - 693 mm
Caudal integral médio anual - 40000 x 1000 m3
Caudal de cheia - 1300 m3/s
Período de retorno - 1000 anos
CARACTERÍSTICAS DA ALBUFEIRA
Área inundada ao NPA - 14800 x 1000m2
Capacidade total - 132500 x 1000m3
Capacidade útil - 130000 x 1000m3
Volume morto - 2500 x 1000m3
Nível de pleno armazenamento (NPA) - 197,5 m
Nível de máxima cheia (NMC) - 198,85 m
Nível mínimo de exploração (Nme) - 172 m
CARACTERÍSTICAS DA BARRAGEM
Aterro - Terra zonada
Altura acima da fundação - 48,5 m
Altura acima do terreno natural - 44 m
Cota do coroamento - 201,6 m
Comprimento do coroamento - 1105 m
Largura do coroamento - 10 m
Número de banquetas a jusante - 2
Fundação - Xistos e grauvaques
Volume de aterro - 2285 x 1000 m3
DESCARREGADOR DE CHEIAS
Localização - Margem esquerda
Tipo de controlo - Sem controlo
Tipo de descarregador - Poço vertical ou inclinado
Cota da crista da soleira - 197,5 m
Desenvolvimento da soleira - 15 m
Caudal máximo descarregado - 56 m3/s
Dissipação de energia - Ressalto
DESCARGA DE FUNDO
Localização - Margem esquerda
Tipo - Em túnel escavado na rocha
Secção da conduta - 1,2 x 1,6 m2
Caudal máximo - 46 m3/s
Controlo a montante - Comporta lagarta
Controlo a jusante - Comporta corrediça
Dissipação de energia - Ressalto





