UTILIZAÇÕES - Energia
LOCALIZAÇÃO
Distrito - Portalegre
Concelho - Nisa/Vila Velha de Ródão
Local - Amieira do Tejo/Fratel
Bacia Hidrográfica - Tejo
Linha de Água - Rio Tejo
DADOS GERAIS
Promotor - CPPE, Cª. Portuguesa de Produção de Electricidade, SA
Dono de Obra (RSB) - CPPE
Projectista - Hidro-Eléctrica do Zêzere
Construtor - SOMAGUE
Ano de Conclusão - 1973
CARACTERÍSTICAS HIDROLÓGICAS
Área da Bacia Hidrográfica - 60000 km2
CARACTERÍSTICAS DA ALBUFEIRA
Área inundada ao NPA - 10000 x 1000m2
Capacidade total - 92500 x 1000m3
Capacidade útil - 21000 x 1000m3
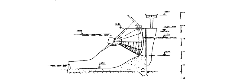
Nível de pleno armazenamento (NPA) - 74 m
Nível de máxima cheia (NMC) - 76 m
Nível mínimo de exploração (Nme) - 71 m
CARACTERÍSTICAS DA BARRAGEM
Betão - Gravidade
Altura acima da fundação - 48 m
Altura acima do terreno natural - 43 m
Cota do coroamento - 87 m
Comprimento do coroamento - 240 m
Fundação - Xistos e Grauvaques
Volume de betão - 124 x 1000 m3
DESCARREGADOR DE CHEIAS
Localização - No corpo da barragem
Tipo de controlo - Controlado
Tipo de descarregador - Sobre a barragem
Cota da crista da soleira - 57 m
Desenvolvimento da soleira - 6x18,75=112,5 m
Comportas - 6 comportas segmento
Caudal máximo descarregado - 16500 m3/s
Dissipação de energia - Bacia de Dissipação
CENTRAL HIDROELÉCTRICA
Tipo de central - Contíguo à barragem
Nº de grupos instalados - 3
Tipo de grupos - Kaplan
Potência total Instalada - 130 MW
Energia produzida em ano médio - 347,5 GWh




