UTILIZAÇÕES - Energia / Rega / Defesa cheias
LOCALIZAÇÃO
Distrito - Viana do Castelo
Concelho - Ponte da Barca
Local - Touvedo
Bacia Hidrográfica - Lima
Linha de Água - Rio Lima
DADOS GERAIS
Promotor - CPPE, Cª. Portuguesa de Produção de Electricidade, SA
Dono de Obra (RSB) - CPPE
Projectista - EDP
Construtor - SOARES DA COSTA, SARL
Ano de Projecto - 1987
Ano de Conclusão - 1993
CARACTERÍSTICAS HIDROLÓGICAS
Área da Bacia Hidrográfica - 1700 km2
Caudal integral médio anual - 1692000 x 1000 m3
Caudal de cheia - 3200 m3/s
Período de retorno - 1000 anos
CARACTERÍSTICAS DA ALBUFEIRA
Área inundada ao NPA - 1720 x 1000m2
Capacidade total - 15500 x 1000m3
Capacidade útil - 4500 x 1000m3
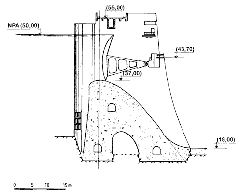
Nível de pleno armazenamento (NPA) - 50 m
Nível mínimo de exploração (Nme) - 47,5 m
CARACTERÍSTICAS DA BARRAGEM
Betão - Gravidade aligeirada
Altura acima da fundação - 42,5 m
Cota do coroamento - 55 m
Comprimento do coroamento - 133,5 m
Fundação - Granito
Volume de betão - 74,62 x 1000 m3
DESCARREGADOR DE CHEIAS
Localização - No corpo da barragem
Tipo de controlo - Controlado
Tipo de descarregador - Sobre a barragem
Cota da crista da soleira - 37 m
Desenvolvimento da soleira - 30,30 m
Comportas - 3 comportas segmento
Caudal máximo descarregado - 3200 m3/s
Dissipação de energia - Bacia de dissipação
DESCARGA DE FUNDO
Localização - Talvegue
Tipo - Através da barragem
Caudal máximo - 50 m3/s
Controlo a jusante - Sim
Dissipação de energia - Ressalto
CENTRAL HIDROELÉCTRICA
Tipo de central - Contígua à barragem
Nº de grupos instalados - 1
Tipo de grupos - Kaplan
Potência total Instalada - 22 MW
Energia produzida em ano médio - 67 GWh





