UTILIZAÇÕES - Rega/Energia
LOCALIZAÇÃO
Distrito - Faro
Concelho - Lagos
Local - Bravura
Bacia Hidrográfica - Ribeiras do Algarve
Linha de Água - Ribeira de Odeáxere
DADOS GERAIS
Promotor - Associação de Reg. e Benef.os do Alvor
Dono de Obra (RSB) - A. R. e Beneficiários do Alvor
Projectista - Hidrotécnica Portuguesa
Construtor - Moniz da Maia & Vaz Guedes
Ano de Projecto - 1955
Ano de Conclusão - 1958
CARACTERÍSTICAS HIDROLÓGICAS
Área da Bacia Hidrográfica - 76,8 km2
Precipitação média anual - 685,8 mm
Caudal integral médio anual -
Caudal de cheia - 300 m3/s
Período de retorno - 100 anos
CARACTERÍSTICAS DA ALBUFEIRA
Área inundada ao NPA - 2850 x 1000m2
Capacidade total - 34825 x 1000m3
Capacidade útil - 32260 x 1000m3
Volume morto - 2565 x 1000m3
Nível de pleno armazenamento (NPA) - 84,1 m
Nível de máxima cheia (NMC) - 85 m
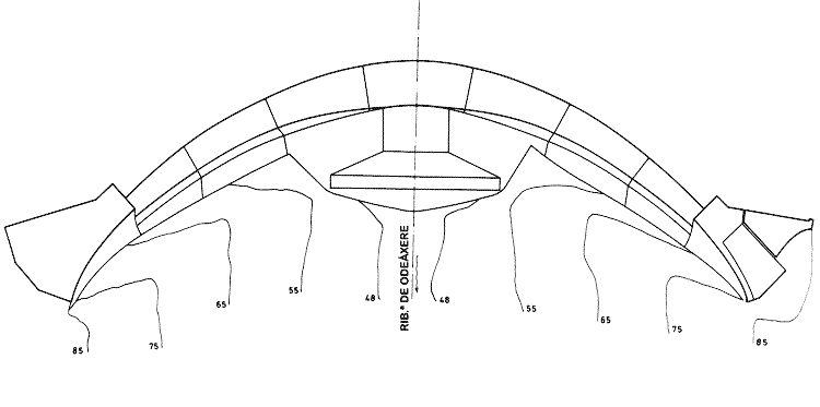
CARACTERÍSTICAS DA BARRAGEM
Betão - Arco
Altura acima da fundação - 41 m
Altura acima do terreno natural - 36 m
Cota do coroamento - 86 m
Comprimento do coroamento - 150 m
Largura do coroamento - 5 m
DESCARREGADOR DE CHEIAS
Localização - Centro
Tipo de controlo - Sem controlo
Tipo de descarregador - Sobre a barragem
Caudal máximo descarregado - 21 m3/s
DESCARGA DE FUNDO
Localização - Talvegue
Tipo - Através da barragem
Secção da conduta - d 800 mm
Caudal máximo - 8 m3/s
Controlo a montante - Comporta corrediça
Controlo a jusante - Válvula de jacto oco
Dissipação de energia - Jacto oco e fossas de erosão
CENTRAL HIDROELÉCTRICA
Tipo de central - Afastada da barragem
Energia produzida em ano médio - 1 GWh




